Diagrama de Fusibles y Relés para BMW Serie 1 (E81): Guía Esencial

La correcta identificación y comprensión de los diagramas de fusibles y relés de un vehículo es fundamental para el mantenimiento y la resolución de problemas eléctricos. En el caso del BMW Serie 1 (E81), especialmente en modelos como el 116d con 116 CV, esta información se convierte en una herramienta indispensable para cualquier propietario o técnico. Este artículo se adentra en la estructura y el propósito de estos componentes vitales, ofreciendo una guía detallada para navegar por el sistema eléctrico del vehículo.
La Importancia de los Fusibles y Relés en su BMW Serie 1
Los fusibles y relés son los guardianes del sistema eléctrico de su BMW Serie 1. Actúan como interruptores de seguridad diseñados para proteger los diversos circuitos del vehículo contra sobrecargas eléctricas y cortocircuitos. Un fusible contiene un filamento delgado que se derrite y rompe el circuito si la corriente excede un nivel seguro, previniendo daños a componentes más costosos o incluso incendios. Los relés, por su parte, son interruptores electromagnéticos que utilizan una pequeña corriente para controlar una corriente mayor, permitiendo que componentes de alta potencia, como el motor de arranque o los faros, sean operados de manera segura y eficiente.
En el contexto del BMW Serie 1 (E81) 116d (116 cv), estos componentes son cruciales para el funcionamiento óptimo de innumerables sistemas, desde la iluminación y el sistema de audio hasta la unidad de control del motor y los sistemas de seguridad. La correcta gestión de estos elementos puede prevenir averías costosas y garantizar la longevidad del vehículo.
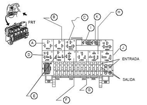
Localización de la Caja de Fusibles y Relés en el BMW Serie 1 (E81)
La caja de fusibles y relés principal en un BMW Serie 1 (E81) suele estar ubicada en una posición estratégica para facilitar el acceso. Si bien la ubicación exacta puede variar ligeramente entre los modelos y años de producción específicos, una de las ubicaciones más comunes es debajo del salpicadero, en el lado del conductor. En algunos casos, puede encontrarse oculta tras un panel de acceso o una cubierta de plástico.

Para acceder a ella, es posible que deba retirar algunos paneles de plástico o guarnecidos. Es recomendable consultar el manual del propietario de su vehículo para obtener instrucciones precisas sobre cómo acceder a la caja de fusibles y relés de su modelo específico de Serie 1. La información proporcionada, como la referencia del fabricante 690662106 para una caja de relés/fusibles, subraya la importancia de utilizar piezas correctas y específicas para su vehículo.
Es importante destacar que, además de la caja principal, algunos vehículos BMW pueden tener cajas de fusibles secundarias, a menudo ubicadas en el compartimento del motor o en el maletero, que controlan sistemas de mayor consumo o de seguridad.
Interpretación del Diagrama de Fusibles
Una vez que haya localizado la caja de fusibles, el siguiente paso crucial es interpretar el diagrama. Cada fusible en la caja está diseñado para proteger un circuito específico, y cada uno tiene asignada una corriente nominal (medida en amperios) y una ubicación designada. El diagrama, que a menudo se encuentra impreso en la tapa de la propia caja de fusibles o en el manual del propietario, es esencial para identificar qué fusible corresponde a qué componente.
El diagrama suele presentar una cuadrícula donde cada casilla representa un fusible. Junto a cada casilla, se indica el número de posición del fusible, su valor nominal en amperios y el sistema o componente que protege. Por ejemplo, podría ver una indicación para "Luces de freno", "Radio", "Ventilador del radiador", "Sistema de inyección de combustible", etc.

La correcta identificación es vital. Reemplazar un fusible fundido por otro de diferente amperaje puede tener consecuencias graves. Un fusible con un amperaje demasiado alto no protegerá adecuadamente el circuito y podría permitir daños en los componentes o un incendio. Un fusible con un amperaje demasiado bajo se fundirá prematuramente, interrumpiendo el funcionamiento normal del componente protegido.
Identificación y Reemplazo de Fusibles Fundidos
Un fusible fundido es reconocible por el filamento interno roto. Al retirar un fusible sospechoso, puede examinar visualmente el filamento. Si está roto o visiblemente quemado, el fusible está fundido y necesita ser reemplazado. Es recomendable utilizar una herramienta extractora de fusibles, que a menudo se incluye en la propia caja de fusibles o se puede adquirir por separado, para facilitar su extracción sin dañar los terminales.
Al comprar un fusible de reemplazo, es imperativo adquirir uno con las mismas especificaciones exactas: mismo tipo (mini, estándar, etc.) y mismo valor nominal en amperios. Las referencias como las mencionadas (60,00€ I.V.A., 72,60€ I.V.A., 181,50€ I.V.A., 40,00€ I.V.A.) sugieren que existen diferentes tipos y precios de componentes, pero la especificación técnica es lo que prima.
Si un fusible se funde repetidamente, esto indica un problema subyacente en el circuito, como un cableado dañado, un cortocircuito o un componente defectuoso. En tales casos, no se debe simplemente seguir reemplazando el fusible. Es crucial diagnosticar y reparar la causa raíz del problema.
5 Fallas Eléctricas Muy frecuentes en al Auto que Son fáciles de Resolver!
El Papel de los Relés
Los relés, aunque físicamente diferentes a los fusibles, desempeñan un papel igualmente importante en la protección y el control de los circuitos eléctricos. Un relé actúa como un interruptor operado eléctricamente. Consiste en una bobina electromagnética y un conjunto de contactos. Cuando se aplica una corriente a la bobina, se genera un campo magnético que atrae un armazón, cerrando o abriendo los contactos del circuito principal.
En su BMW Serie 1 (E81), los relés son utilizados para controlar funciones de alto consumo de corriente que serían demasiado exigentes para un interruptor manual directo. Ejemplos comunes incluyen el relé de la bomba de combustible, el relé del motor del ventilador, el relé del claxon y los relés de los faros principales.
La identificación de los relés en la caja de fusibles y relés se realiza de manera similar a la de los fusibles, consultando el diagrama. Los relés suelen ser unidades más grandes y robustas que los fusibles.
Diagnóstico de Problemas con Relés
Al igual que con los fusibles, si un componente controlado por un relé no funciona, el relé en sí podría ser el culpable. Sin embargo, diagnosticar un relé es un poco más complejo que inspeccionar un fusible. A menudo, se requiere probar la continuidad y el funcionamiento de la bobina y los contactos del relé.
Una forma sencilla de probar un relé, si se sospecha que está defectuoso y se tiene un relé idéntico de repuesto, es intercambiarlos. Si el componente que no funcionaba ahora lo hace, y el componente que dependía del relé intercambiado deja de funcionar, es muy probable que el relé original estuviera defectuoso.
No obstante, la complejidad del sistema eléctrico de un BMW Serie 1 puede requerir herramientas de diagnóstico más avanzadas y conocimientos técnicos para identificar con precisión la causa de un fallo. Consultar con un profesional cualificado es a menudo la mejor opción ante problemas eléctricos persistentes.
Consideraciones Adicionales para el BMW Serie 1 (E81)
El BMW Serie 1 (E81) 116d (116 cv), al ser un vehículo moderno, incorpora una cantidad significativa de electrónica. Esto significa que el sistema eléctrico es complejo y está interconectado. Por ejemplo, el funcionamiento de componentes como la unidad de control del motor (ECU), el sistema de frenos antibloqueo (ABS) y los airbags depende de un suministro eléctrico estable y protegido.
La información adicional proporcionada, como las dimensiones (5 × 15 × 16 cm) y el peso (1 kg) de una caja de relés/fusibles, aunque específica para una pieza de repuesto, da una idea de la naturaleza física de estos componentes. La marca BMW y el modelo Serie 1 (E81) son identificadores clave para asegurar la compatibilidad de las piezas.
Es importante recordar que las intervenciones en el sistema eléctrico de un vehículo de alta gama como un BMW deben realizarse con precaución. Un error puede tener repercusiones significativas en la electrónica sensible del coche.
Mantenimiento Preventivo y Consejos Útiles
Para mantener el sistema eléctrico de su BMW Serie 1 en óptimas condiciones, se recomienda:
- Revisar periódicamente el manual del propietario: Familiarícese con la ubicación y el diagrama de fusibles y relés de su vehículo.
- Mantener un suministro de fusibles de repuesto: Tenga a mano fusibles de diferentes amperajes comunes en su vehículo, pero úselos solo para reemplazos temporales si es necesario y asegúrese de usar el amperaje correcto.
- Evitar modificaciones eléctricas no autorizadas: La instalación de accesorios eléctricos no originales puede sobrecargar los circuitos existentes y causar problemas. Si necesita instalar un accesorio, consulte a un profesional.
- Prestar atención a las señales de advertencia: Si nota que las luces parpadean, los componentes eléctricos funcionan de manera intermitente o hay olores a quemado, investigue el problema de inmediato.
Comprender el diagrama de fusibles y relés de su BMW Serie 1 (E81) no solo le permitirá solucionar problemas comunes, sino que también le ayudará a apreciar la complejidad y la ingeniería detrás del sistema eléctrico de su vehículo. La información específica sobre referencias de fabricantes y precios, como las proporcionadas, resalta la importancia de la calidad y la compatibilidad al seleccionar piezas de repuesto.
tags: #diagrama #de #fusibles #bmw #serie #1